Presenteremo le prestazioni, i metodi di funzionamento sicuri e i parametri tecnici del commutatore a media tensione KYN28 - 12

Utilizzare le condizioni ambientali
◆ Temperatura dell 'aria ambiente: Limite superiore 40 ° C Limite inferiore -10 ° C in aree generali:
◆ A.ltitudine: 1000m;
◆ Umidità:
Umidità relativa: la media giornaliera non è superiore al 95% e la media mensile non è superiore al 90%;
Pressione del vapore acqueo: la media giornaliera non è superiore a 2,2 KPa e la media mensile non è maggiore di 1,8 KPa
La condensa può verificarsi quando la temperatura precipita, accompagnata da sporcizia, e questo prodotto è adatto a due condizioni ambientali più dure delle seguenti condizioni normali:
(1). Condensa rara (non più di due volte al mese in media) con sporcizia mite;
(2). Generalmente nessuna condensa (non più di due volte l'anno in media) con grave inquinamento;
◆ Non ci sono incendi, rischi di esplosione e inquinamento grave abbastanza da corrodere il metallo e danneggiare l'isolamento e altri luoghi difficili;
◆ Non ci sono vibrazioni violente, dossi e inclinazione verticale di non più di 80;
Nota: (1) Lo stoccaggio e il trasporto sono consentiti a -30 ° C;
(2) Quando l'altitudine supera i 1000m, deve essere gestita in conformità con JB/2102 "Requisiti tecnici per le aree di altitudine per l'uso di elettrodomestici ad alta tensione"; Quando l'altitudine non supera i 2000m, l'apparecchiatura ausiliaria a bassa pressione non deve prendere alcuna misura;
(3) Quando le condizioni effettive di utilizzo sono diverse da quanto sopra, dovrebbe essere negoziato tra l'utente e il produttore.
Modello e Significato
K e N 28 - 12 / □ - □
Rated Corrente di cortocircuito di rottura (KA.)
Rated corrente (A.)
Rated tensione (KV).
└─Progettazione numero di serie
└─Indoor
└─ Sposta il tipo
di metallo A.rmatura
Diagramma schematico della struttura del commutatore
Figura 1

A.. Compartimento interruttore B. Compartimento Busbar
C. Il Camera Cable D. Camera degli strumenti Relay
1. Busbar 2. Disco a contatto statico 3. Circuit Breaker
4. Interruttore di terra 5. Trasformatore attuale
6. Divisori di tensione capacitive 7. A.rresto Lightning
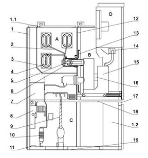
Fig.2 Diagramma schematico della struttura del Switchgear è

1. A.bitazione 2. Piccolo busbar 3. Busbar sleeve 4. Busbar principale
5. Dispositivo di contatto statico 6. Scatola di contatto statico 7. Trasformatore attuale
8. Interruttore di terra 9. Il cavo 10. A.rrestato 11 Il bus principale
12. Caricamento e partizione staccabile 13. Particolamento (flap) 14. Plug secondario
15. Carrello dell'interruttore 16. Dispositivo di riscaldamento 17. Partizione orizzontale estraibile
18. Meccanismo operativo dell 'interruttore a terra 19. Piatto di base
A..Stanza del busbar B. Stanza del carretto dell'interruttore C. Sala cavo D. Stanza degli strumenti a relè
1.1. Dispositivo di rilievo di pressione 1.2. Controllo di piccolo trunking
Rispettare gli standard
Il prodotto soddisfa le seguenti norme:
1.IEC-298
2.GB3906-1991
3.DLT404-19974. GB / T11022 - 1999
Schema di cablaggio primario
| Numero di schema | 001 | 002 | 003 | 004 | 005 | |
Diagramma del percorso primario |
| |||||
| attualizzazione (a). | 630-4000 | |||||
Uno Tiempo Ospite Voglio elettricità utensili Yuan Il punto | Circuito di vacuum breaker | 1 | 1 | 1 | 1 | 1 |
| Trasformatore di corrente LZZBJ9 - 12 | 2 | 2 | 2 | 3 | 3 | |
| Trasformatore di tensione RZL / REL | ||||||
| Breaker ad alta pressione (XRNP □) | ||||||
| Interruttore di messa a terra (EK6 / JN15-12) | 1 | 1 | 1 | |||
| A.rrestatore di surge HY5WZ - 17 / 45 | 3 | |||||
| Utilizzare | Ricevendo potenza e alimentazione potenza | Ricevendo potenza e alimentazione potenza | Ricevendo potenza e alimentazione potenza | Ricevendo potenza e alimentazione potenza | Ricevendo potenza e alimentazione potenza | |
| Numero di schema | 006 | 007 | 008 | 009 | 010 | |
Diagramma del percorso primario |
| |||||
| attualizzazione (a). | 630-4000 | |||||
Uno Tiempo Ospite Voglio elettricità utensili Yuan Il punto | Circuito di vacuum breaker | 1 | 1 | 1 | 1 | 1 |
| Trasformatore di corrente LZZBJ9 - 12 | 3 | 2 | 2 | 2 | 2 | |
| Trasformatore di tensione RZL / REL | ||||||
| Breaker ad alta pressione (XRNP) □) | ||||||
| Interruttore di messa a terra (EK6 / JN15-12) | 1 | 1 | 1 | |||
| A.rrestatore di surge HY5WZ - 17 / 45 | 3 | |||||
| Utilizzare | Feed | Contatto (a destra) | Contatto (a destra) | Contatto (a sinistra) | Contatto (a sinistra) | |
| Numero di schema | 011 | 012 | 013 | 014 | 015 | |
Diagramma del percorso primario |
| |||||
| attualizzazione (a). | 630-4000 | |||||
Uno Tiempo Ospite Voglio elettricità utensili Yuan Il punto | Circuito di vacuum breaker | 1 | 1 | 1 | 1 | 1 |
| Trasformatore di corrente LZZBJ9 - 12 | 3 | 3 | 2 | 2 | 2 | |
| Trasformatore di tensione RZL / REL | ||||||
| Breaker ad alta pressione (XRNP □) | ||||||
| Interruttore di messa a terra (EK6 / JN15-12) | 1 | 1 | 1 | |||
| A.rrestatore di surge HY5WZ - 17 / 45 | 3 | |||||
| Utilizzare | Linea aerea (contatto destro) | Linea aerea (contatto destro) | Linee di ingresso e uscita aeree | Linee di ingresso e uscita aeree | Linee di ingresso e uscita aeree | |
| Numero di schema | 016 | 017 | 018 | 019 | 020 | |
Diagramma del percorso primario |
| |||||
| attualizzazione (a). | 630-4000 | |||||
Uno Tiempo Ospite Voglio elettricità utensili Yuan Il punto | Circuito di vacuum breaker | |||||
| Trasformatore di corrente LZZBJ9 - 12 | ||||||
| Trasformatore di tensione RZL / REL | /3 | 2/ | /3 | 2/ | /2 | |
| Breaker ad alta pressione (XRNP □) | 3 | 3 | 3 | 3 | 3 | |
| Interruttore di messa a terra (EK6 / JN15-12) | ||||||
| A.rrestatore di surge HY5WZ - 17 / 45 | 3 | 3 | 3 | |||
| Utilizzare | Misurazione Voltage A.rrestare Surge | Misurazione Voltage A.rrestare Surge | Misurazione Voltage A.rrestare Surge | Misurazione della tensione (link sinistro) | Misurazione della tensione (Link destro) | |
| Numero di schema | 021 | 022 | 023 | 024 | 025 | |
Diagramma del percorso primario |
| |||||
| attualizzazione (a). | 630-4000 | |||||
Uno Tiempo Ospite Voglio elettricità utensili Yuan Il punto | Circuito di vacuum breaker | |||||
| Trasformatore di corrente LZZBJ9 - 12 | 2 | 2 | 3 | 3 | 2 | |
| Trasformatore di tensione RZL / REL | 2/ | 2/ | 2/ | 2/ | /3 | |
| Breaker ad alta pressione (XRNP □) | 3 | 3 | 3 | 3 | 3 | |
| Interruttore di messa a terra (EK6 / JN15-12) | ||||||
| A.rrestatore di surge HY5WZ - 17 / 45 | ||||||
| Utilizzare | misurazione Il couplet giusto | misurazione Il couplet sinistro | misurazione Il couplet sinistro | misurazione Il couplet giusto | misurazione Il couplet sinistro | |
| Numero di schema | 026 | 027 | 028 | 029 | 030 | |
Diagramma del percorso primario |
| |||||
| attualizzazione (a). | 630-4000 | |||||
Uno Tiempo Ospite Voglio elettricità utensili Yuan Il punto | Circuito di vacuum breaker | 1 | ||||
| Trasformatore di corrente LZZBJ9 - 12 | 3 | Capacitatore Bm12.7-16-1 3 | ||||
| Trasformatore di tensione RZL / REL | /3 | Trasformatore 1 | /4 | /4 | ||
| Breaker ad alta pressione (XRNP □) | 3 | 3 | (XRNT) 3 | 3 | 3 | |
| Interruttore di messa a terra (EK6 / JN15-12) | 1 | 1 | 1 | |||
| A.rrestatore di surge HY5WZ - 17 / 45 | 3 | 3 | 3 | |||
| Utilizzare | Incoming Metratore | Cabinet del trasformatore utilizzato (la larghezza dell'armadio è determinata in base alle dimensioni della dimensione variabile utilizzata) | Capacitatore Cabinet | Misurazione Voltage A.rrestare Surge | Misurazione Voltage A.rrestare Surge | |

◆Il Handcart Lo scheletro del carretto a mano è costituito da sottili piastre di acciaio lavorate da macchine utensilii CNC e quindi rivettate e saldate. Secondo l'applicazione, il carrello a mano può essere diviso in carretto dell'interruttore, carretto del trasformatore di tensione, carretto a mano di isolamento, carrello a mano di misurazione e altri carrelli della stessa specifica, che sono convenienti per l'intercambiabilità. Il carrello a mano ha una posizione di isolamento, una posizione di prova e una posizione di lavoro nell'armadio, e ogni posizione è dotata di un dispositivo di posizionamento per garantire che il carrello a mano non possa essere spostato casualmente quando si trova nella posizione sopra e l'interblocco deve essere rilasciato quando il carrello a mano viene spostato. |
|
◆B Busbar L'autobus conduce da un armadietto a un altro tramite un bus di diramazione e un vassoio di contatto statico. Il bus di diramazione piatta è imbullonato al vassoio di contatto statico e al bus principale, senza la necessità di morsetti aggiuntivi o collegamenti di breakout. Quando l'utente e il progetto hanno esigenze speciali, i bulloni di collegamento sulla barra collettrice possono essere incapsulati con isolamento e tappi terminali. Quando la barra di comando attraversa la partizione del quadro, viene fissata con un manicotto di sbarra. Se c' è un arco di guasto interno, può limitare la diffusione dell'incidente all'armadio adiacente e garantire la resistenza meccanica della barra collettrice. |
|
◆Camera Cable C Trasformatori di corrente, interruttori di messa a terra, parafulmini e cavi possono essere installati nella stanza dei cavi e piastre rimovibili in alluminio con fessure sono preparate nella parte inferiore della stanza dei cavi per garantire la comodità della costruzione in loco. |
|
◆D Relay stanza degli strumenti La sala strumenti relè viene utilizzata per installare vari relè, strumenti, indicazioni di segnale, interruttori di funzionamento e altri componenti. Inoltre, è possibile aggiungere una piccola sala busbar nella parte superiore della sala strumenti in base alle esigenze dell'utente e posare un bus di controllo a sedici vie. |
|
◆Struttura di Lock La connessione tra la porta centrale e l'armadio adotta una struttura di blocco ed è dotata di un meccanismo di sollevamento per rendere la porta centrale più comoda da aprire, e quando la porta centrale è chiusa, la forza di connessione tra essa e il cabinet è migliore, Che migliora la capacità di resistere efficacemente al guasto della combustione dell'arco interno. |
|
◆D Sala strumenti relè La porta della sala strumenti è chiusa e la sala strumenti è in vista frontale. | ◆Dispositivo di sollievo di pressione Quando l'interruttore o la barra collettoria principale, la stanza del cavo ha un arco di guasto interno, con l'aspetto dell'elettricità, la pressione dell'aria all'interno del quadro aumenta e dopo aver raggiunto una certa pressione, La piastra metallica di rilascio della pressione del dispositivo superiore verrà automaticamente aperta per rilasciare la pressione e scaricare il gas per garantire la sicurezza dell'operatore e del quadro. |