We will present the performance, safe operation methods, and technical parameters of trasformatore: S9\S11\S13 Trasformatori riempiti con liquido

This manual is applicable to fully sealed oil-immersed power transformers produced by our company, with a rated capacity of 3150KVA and below, and a voltage level of 35KV and below.
1. Uses and characteristics
Oltre ad essere adatto per trasformatori di potenza generali, i trasformatori immersi in olio completamente sigillati sono particolarmente adatti per petrolchimica, metallurgia, tessile, industria leggera e imprese, miniere e aree rurali con elevata umidità e manutenzione scomoda.
Questo prodotto cancella il dispositivo di protezione dell 'olio come l'armadio di stoccaggio dell' olio e l'assorbente di umidità per garantire che l'olio del trasformatore non entri in contatto con l'aria, tutte le sigille sono sigillate con eccellente gomma speciale, utilizzando l'iniezione di olio sotto vuoto, in circostanze normali, il trasformatore può essere utilizzato continuamente per 20 anni senza alcun trattamento, basso costo di manutenzione è la caratteristica principale di questo prodotto, e l'affidabilità del funzionamento è migliorata, la vita utile è estesa.
2. Model description
S□-M-□ □
S - three phases
□ - Performance Level Code (11, 13, 20)
M – sealed
□ – Rated capacity (kVA)
□ – High Voltage Voltage Level (10kV)
3. Transportation
1. Durante il trasporto e l'installazione, durante il sollevamento del trasformatore, le quattro gru sul serbatoio del carburante essere utilizzate allo stesso tempo per sostenere il peso totale del trasformatore dopo che l'assemblaggio finale del trasformatore è riempito con la quantità di olio del trasformatore. Se questo requisito non può essere soddisfatto, è necessario utilizzare un trasformatore speciale per il sollevamento della fascia.
2. Le parti di fissaggio di questo prodotto sono tutte nutelle allentate per garantire un fissaggio affidabile. Tuttavia, durante il trasporto, è ancora necessario garantire che il trasformatore abbia una stabilità sufficiente e l'inclinazione del trasformatore non deve essere superiore a 15 °. Durante il sollevamento, dovrebbe essere sollevato e rilasciato dolcemente, e in assenza di attrezzature di sollevamento, il terreno dovrebbe muoversi lentamente per evitare violente vibrazione.
4. Acceptance and storage
1. Dopo aver ricevuto il trasformatore, l'utente dovrebbe immediatamente controllare il modello del prodotto e le specifiche ricevute secondo la targa, se le specifiche sono coerenti con il contratto d'ordine, e quindi controllare attentamente se ci sono danni a ogni parte del trasformatore, se le parti vulnerabili, come termometri di segnale, custodie, ecc. sono danneggiate e se il tubo del termometro di segnale è appiattito e rotto. Particolare attenzione deve essere prestata all 'integrità della manica in porcellana, che viene giudicata in base alla presenza di infiltrazioni di olio nella custodia e controllare se c'è perdita di olio o perdita di olio in ciascuna parte di sigillamento del trasformatore.
2. Se il trasformatore non viene installato e messo in funzione immediatamente e deve essere conservato a lungo, tutti i sigilli devono essere sigillati, i pezzi di ricambio devono essere conservati correttamente e la situazione di stoccaggio deve essere controllata regolarmente.
5. Installation and maintenance of transformers
1. Installation of transformers
1.1 The user uses a forklift or other handling tools to smoothly transport the transformer to the designated installation position.
1.2 Be careful not to damage the casing and other wearing parts during installation, and do not scratch the fuel tank or scratch the paint film.
2. Inspection and judgment criteria before the transformer is put into operation
2.1 After the fully sealed oil-immersed power transformer is transported to the user, there is no need to check the core.
2.2 The transformer should be tested according to the "Test Standard for the Handover of Electrical Equipment in Electrical Installation Engineering".
2.2.1 Measure the DC resistance of the winding and the sleeve, and the value should not be greater than 2% compared with the factory measured value at the same temperature.
2.2.2 Check the changes of all taps and there should be no significant difference compared with the factory data.
2.2.3 Check whether the coupling group designation of the transformer is consistent with the nameplate mark.
2.2.4 The insulation resistance value should be close to the factory value at the same temperature, and should not be less than the value in Table 1.
Table 1 Insulation resistance value (MΩ)
temperature
| 20 | 30 | 40 | 50 | 60 |
<6 | 400 | 200 | 100 | 50 | 25 |
6 or more but less than 20 | 800 | 400 | 200 | 100 | 50 |
20 or more than 60 | 1000 | 500 | 250 | 125 | 65 |
Description: 1. The coil under test is grounded during the measurement. 2. Use a 2500V megaohm meter or a special meter.
2.2.5 The external construction frequency withstand voltage test voltage of the winding and the casing is shown in Table 2.
Table 2 Experimental standards for insulation power frequency withstand voltage of high-voltage electrical equipment
Voltaggio Rated (KV). | 3 | 6 | 10 | 15 | 20 | 35 |
Factory experimental value | 18 | 25 | 35 | 45 | 55 | 85 |
Handover experimental values | 15 | 21 | 30 | 38 | 47 | 72 |
2.2.6 The conventional test items of transformer oil are inspected according to the requirements of new oil (before putting into operation), see Table 3.
Table 3 Experimental items and standards of transformer oil before putting into operation
Numero di serie | Articoli | New oil in the tank before putting into operation |
1 | appearance | Transparent and free of impurities |
2 | Flash point C (sealed) | 140 |
3 | Moisture mg/1 (ppm). | ≤20 |
4 | Acid value mgKOH/g | <0.03 |
5 | Breakdown voltage KV (2.5mm) oil gap | 35KV and below: ≥35 |
6 | The medium is lost tangentially tangents by 8% (90°C). | ≤0.7 |
7 | Interfacial tension mN/m (25°C). | ≥35 |
8 | Water-soluble acid (PH). | ≥5.4 |
2.2.7 Oil sample collection method
(1) Scrub and dry the glass test cup with a diameter of about 80-100mm and the syringe barrel of about 100ml.
(2) Unscrew the oil sample valve cover at the bottom of the fuel tank.
(3) Wipe the oil sample valve outlet and vicinity clean with clean paper or cloth.
(4) Align the glass test cup with the valve outlet.
(5) Utilizzare una chiave per svitare lentamente il bullone della valvola del campione dell'olio per far fluire l'olio nella tazza e allo stesso tempo inserire l'ago della siringa nell'uscita dell'olio della valvola del campione dell'olio per estrarre il campione dell'olio.
(6) The amount of oil sample is determined by the user according to the needs of the experimental project.
(7) When the oil sample is collected, tighten the oil sample valve bolt and valve cover.
(8) Aprire il coperchio del tubo di iniezione dell'olio sulla parte superiore del coperchio della scatola del trasformatore e versare lentamente l'olio del trasformatore dello stesso modello, lo stesso peso, e ha superato il test nel tubo di iniezione dell'olio e stringere il coperchio del tubo di iniezione dell'olio, E il campione dell'olio e il processo di rifornimento dell'olio sono completati.
3. Maintenance of transformers
3.1 The maintenance and inspection standards of fully sealed oil-immersed transformers are as follows in Table 4 and Table 5.
Table 4 Regular inspection standards
Numero di serie | Inspection items | Inspection essentials | Cycle | Judgment criteria | remark |
1 | Insulation resistance | Use a 2500V rocking meter or a measuring instrument with the same effect Measure the phase to the ground | Irregular | 35KV side: 270MΩ 10KV side: 200M Ω 1KV side: 50MΩ | After a serious overvoltage or serious accident, this experiment is carried out |
2 | Insulating oil | Chromatographic analysis | 6 years | GB7252-87 "Guidelines for the Analysis and Judgment of Dissolved Gas in Trasformatore Oil" | After a serious overvoltage or serious accident, this experiment is not limited by the period |
3 | thermometer | 1. Internal spot inspection (rust and moisture absorption) 2. Gask condition 3. Temperature indication, indicating action 4. Temperature rating | 2 years | 1. No rust 2. No damage 3. Indicate normal action (gently tap) 4.85°C | |
4 | Oil level gauge | 1. External inspection 2. Whether the oil surface is full of oil | 1 year | 1. No rust, no oil stains on the glass 2. Whether the oil surface line can be seen | There is no oil level gauge This item will not be inspected |
5 | casing | 1. Terminal status 2. Sleeve status 3. Does oil leak? | 2 years | 1. There is no loosening or discoloration 2. There is no damage or defacement 3. No oil leakage or air leakage | If there is any abnormality, it should be dealt with in time |
6 | Grounding wire | Rugged state | 2 years | No loosening, no broken wires | |
7 | pressure release valve | 1. Whether the seal is oily 2. Whether the lead wire connection is firm | 2 years | 1. No oil seepage 2. If there is any abnormality, it should be dealt with in time | If there is leakage Deal with it in a timely manner |
Table 5 Daily inspection standards
Numero di serie | Inspection items | Inspection essentials | Cycle | Judgment criteria | remark |
1 | Body appearance | There is no dirt, cracks or oil seepage | January | There should be no dirt, cracks, oil leakage, etc | If there is any abnormality, it should be dealt with in time |
2 | The sound and odor of the body | Abnormal sounds and smells (hearing, smell) | January | 1. Sounds and vibrations caused by excitation are normal 2. Abnormal sounds such as loosening and discharging of the fastening nut of the conductive part 3. The combustion of insulation will have a special odor | If there is any abnormality, investigate the cause and deal with it in a timely manner |
3 | Body temperature | Whether the temperature rise is normal | January | The load current borne by the transformer is related to the temperature rise of the oil surface | If there is any abnormality, investigate the cause and deal with it in a timely manner |
4 | Body oil surface | Whether the oil surface is normal (oil surface table) | January | The oil should be filled with an oil level gauge | If there is no oil level gauge, no spot inspection can be done |
5 | current | Whether the current exceeds the allowable value and whether the three-phase current is balanced (Ammeter) | January | The current of each phase is roughly balanced within the rated range | If the imbalance is serious, it should be adjusted in time |
3.2 Oil seepage treatment and oil replenishment method
3.2.1 If the oil seepage at the seal is leaked, the spiral can be tightened with a wrench and the oil stains can be wiped dry.
3.2.2 If the sealing material causes oil seepage, the seal should be replaced.
3.2.3 Oil seepage in the weld should be dealt with in time.
3.2.4 After oil seepage treatment, the oil replenishment method is the same as point 8 of 2.2.7.
3.2.4.1 Importo di rifornimento dell'olio: in circostanze normali, la quantità di olio che filtra dal serbatoio è piccola, quindi la quantità di rifornimento dell'olio è soggetta al riempimento dell'olio sul coperchio del serbatoio e la temperatura dell'olio e la temperatura ambiente in quel momento possono essere ignorati.
3.3 Lo scopo dell 'iniezione di olio sotto vuoto dei trasformatori completamente sigillati è quello di eliminare il gas nella bobina il più possibile in condizioni di vuoto, in modo che l'olio del trasformatore possa riempire i vuoti all' interno della bobina e del materiale isolante e migliorare le prestazioni di isolamento e la vita utile del trasformatore. Poiché la quantità di rifornimento dell 'olio dovuta alla filtrazione dell' olio è molto piccola, non influenza la potenza assoluta della bobina.
Prestazioni di bordo (il produttore stabilisce nel processo di iniezione dell 'olio a vuoto: sotto la condizione di iniezione dell' olio a vuoto, l'olio viene iniettato a circa 100 mm dal coperchio della scatola, e quindi l'iniezione dell 'olio viene interrotta, ma il vuoto è continuato per 1 ora, e quindi l'olio viene iniettato dal tubo di iniezione dell' olio dal coperchio della scatola per far salire il livello dell 'olio fino alla parte superiore del tubo di iniezione dell' olio).
6. Permitted operation mode
1. Rated operation mode
1.1 The transformer should be equipped with a temperature protection relay, which can be operated according to the nameplate specifications under the specified cooling conditions.
1.2 La temperatura ammissibile durante il funzionamento del trasformatore è controllata in base all 'aumento della temperatura dell' olio superiore, e il valore ammissibile dell 'aumento della temperatura dell' olio superiore è di 55 ° C, ma la temperatura massima non deve superare 95 ° C. Al fine di evitare il rapido invecchiamento dell 'olio del trasformatore, la temperatura dell' olio superiore non dovrebbe spesso superare gli 85 ° C.
1.3 La tensione applicata dei trasformatori step-up e dei trasformatori step-down può essere superiore al valore nominale, ma generalmente non più del 5% del valore nominale, non importa dove si trova il rubinetto di tensione, se la tensione primaria viene applicata, non supera il 5% del suo valore di tensione corrispondente, quindi il lato secondario del trasformatore può avere una corrente nominale.
2. Allowable overload
2.1 Il trasformatore può funzionare in condizioni di sovraccarico normale e di sovraccarico incidente. Il sovraccarico normale può essere utilizzato regolarmente, e il suo valore ammissibile è determinato in base alla curva di carico del trasformatore, al centro di temperatura del mezzo di raffreddamento e al carico del trasformatore prima del sovraccarico. Il sovraccarico di incidente è consentito solo in situazioni di incidente. Ad esempio, se uno dei diversi trasformatori in funzione è danneggiato e non c'è un trasformatore di riserva, il resto dei trasformatori è autorizzato a funzionare in base al sovraccarico dell 'incidente.
2.2 The allowable value of transformer accident overload shall be specified in the following table:
| The ratio of accident overload to rated load | 1.3 | 1.5 | 1.75 | 2.0 | 3.0 |
Allowable duration of overload (minutes) | 120 | 45 | 20 | 10 | 1.5 |
3. Unbalanced current of the allowable short-circuit current.
3.1 The short-circuit current of the transformer shall not exceed 25 times the rated current, and the short-circuit current passage time shall not exceed the value calculated according to the following formula:
T=900/K seconds, where K is a multiple of the stable short-circuit current to the rated current.
3.2 For transformers whose coils are connected according to Y, yn0, the midline current shall generally not exceed 25% of the rated current of the low-voltage coil (except for special requirements from users)
Instruction manual for general components of oil-immersed power transformers
1. Overview
Questo manuale di istruzioni è adatto per i componenti generali dei trasformatori di potenza prodotti dalla nostra fabbrica, tra cui involucri, commutatori di rubinetto, valvole di rilascio della pressione, alette del campione di olio, sedili del termometro, bulloni di terra e valvole di scarico dell'olio. Altri componenti standard sono accompagnati da manuali di istruzioni.
2. Use and maintenance
(1) Instruction manual for transformer bushings of 35 kilovolts and below

Figura 1

Figure 2 Figura 3
1. la figura 1 è un involucro composito, utilizzato per una tensione di 1 mila volt e inferiore, la corrente è 300-3000A. La Figura 2 è un manicotto del tipo di cavo, utilizzato per una tensione di 10 mila volt, la corrente è 50-300A. La figura 3 mostra un manicotto filettato con una tensione di 35 kV e una corrente di 35-600A.
2. When the transformer leaves the factory, the casing is assembled on the transformer oil tank and sent to the user together with the transformer.
3. If you need to disassemble or replace the porcelain type, it should be carried out in the following way.
(1) Involucro composito, sollevare prima il corpo di sollevamento, quindi rimuovere il piombo della parte inferiore dell'involucro e infine svitare tutti i dadi di fissaggio, rimuovere l'involucro e sostituire l'involucro sostitutivo che è stato strofinato e asciugato.
(2) Per l'involucro del tipo di cavo, quando si sostituisce l'involucro, l'involucro può essere sostituito esternamente e il dado del giunto deve essere svitato quando sostituito, e il giunto deve essere tirato con filo di rame o cintura di filo per evitare di scivolare nel serbatoio dell'olio, e poi rimosso, coperchio di porcellana, Guarnizione di tenuta e piastra di pressione, ecc.
4. When installing the casing on the transformer fuel tank, the following matters should be noted:
(1) Per l'involucro composito, al fine di bloccare completamente la parte in porcellana sul coperchio della scatola del trasformatore per evitare perdite di olio, le parti superiore e inferiore dell'involucro devono essere serrate per fissare il dado della parte in porcellana.
(2) For the cable type casing, the nut of the presser screw that fixes the casing must be tightened evenly, and then the conductive rod is fixed after the casing is firmly installed on the transformer oil tank.
5. In perennial use, the casing should be scrubbed frequently according to the dirt situation to prevent the surface of the porcelain sleeve from being discharged.
(2) No excitation tap-changer
I trasformatori di potenza completamente sigillati a olio trifase prodotti dalla nostra azienda sono generalmente dotati di commutatori a vuoto di tipo WSP sul coperchio della scatola, in modo da cambiare il commutatore a pressione laterale ad alta tensione quando non c' è elettricità.
1. The typical structure of WSPII1 type non-excitation neutral point voltage regulator tap-changer is shown in Figure 4.
2. Per il valore di tensione indicato dall'indicazione digitale del quadrante del commutatore del rubinetto nell'intervallo di regolazione della tensione ± 5%: 1 indica il connettore del rubinetto con il 5% del valore della tensione nominale, 2 indica il valore della tensione nominale e 3 indica il connettore del rubinetto con-5% del valore della tensione nominale.
3. Quando si cambia la posizione del cambiatore di rubinetto, la vite sul coperchio dell 'articolo 4 deve essere svitata e rimossa, la parte di posizionamento della maniglia dell' articolo 3 deve essere tirata fuori dal foro del solco, quindi l'articolo 2 viene ruotato nella posizione del rubinetto richiesta e la parte di posizionamento della maniglia deve essere incorporata nel foro del solco corrispondente e coperta con un coperchio.
4. Se il cambiatore di rubinetto lavora spesso in una posizione a causa delle esigenze del trasformatore, al fine di eliminare il film di ossido e le macchie di olio sulla parte di contatto e garantire un buon contatto, indipendentemente dal fatto che il trasformatore abbia bisogno di cambiare la tensione, il cambiatore di rubinetto dovrebbe essere rotato almeno 10 volte all 'anno. Se non c'è bisogno di cambiare la tensione, sarà ancora fissato nella posizione originale dopo la rotazione, e la posizione del rubinetto deve essere cambiata e il ponte o il multimetro deve essere utilizzato per misurare il percorso prima di poter essere messo in funzione.
5. Se l'olio del trasformatore è trovato per fuoriuscita dal cambiatore di rubinetto, scoprire da dove perdono. Se l'olio perdesse dal coperchio del serbatoio del trasformatore e dalla flange del cambiatore di rubinetto, il nutto piatto dell 'elemento 6 dovrebbe essere serrato immediatamente, e se l'albero e la flange perdessero olio, il nutto dell' articolo 5 dovrebbe essere serrato, ma non dovrebbe essere serrato troppo strettamente per evitare un eccessivo aumento della coppia di rotazione.

Figure 4 WSPIII Type 1 tap-changer
Se è la regolazione della tensione media, viene utilizzato il commutatore del rubinetto di non eccitazione WPS II.1 e il suo metodo di funzionamento e manutenzione è sostanzialmente lo stesso di quanto sopra. Per i commutatori non di eccitazione diversi da quanto sopra, fare riferimento al manuale del commutatore del rubinetto corrispondente per i dettagli.
(3) Pressure release valve
1. Prodotto Usage and Performance Introduction:
Le valvole di rilascio della pressione (di seguito denominate valvole di rilascio) sono adatte per trasformatori isolati a liquido o gas, trasformatori, commutatori a pressione, interruttori ad alta tensione, condensatori e altri prodotti per proteggere i serbatoi di carburante.
Quando si verifica un incidente all 'interno del trasformatore o del cambiatore di rubinetto a carico, una parte del trasformatore viene gasificata, causando un aumento rapido della pressione all' interno del serbatoio del trasformatore. Se non si prende una protezione affidabile, il serbatoio può deformarsi o addirittura esplodere. La valvola di scarico protegge il serbatoio del trasformatore da danni. Quando la pressione del serbatoio del carburante raggiunge la pressione di lavoro della valvola di scarico, la valvola di scarico si aprirà entro 2 millisecondi per rilasciare la sovrapressione nel serbatoio del carburante in tempo.
Una volta aperta la valvola di scarico, la pressione nel serbatoio del carburante scende a circa il 53 - 55% della pressione di funzionamento e la valvola di scarico può essere chiusa in modo affidabile. Questa funzione speciale della valvola di scarico è la speciale necessità dell 'oggetto di protezione, che può proteggere efficacemente il serbatoio di carburante dai danni. Quando la pressione nel serbatoio aumenta di nuovo e raggiunge la pressione di funzionamento, la valvola di rilascio agirà di nuovo fino a quando la pressione nel serbatoio scende al valore normale. Quando il trasformatore è acceso, l'undicesimo elemento di sicurezza deve essere rimosso.
Because the release valve can be reliably closed after action, the air and water outside the fuel tank cannot enter the fuel tank, and the transformer oil will not be polluted by the atmosphere.
2. Model, specifications, and basic parameters
2.1 model
YSF□-□ □ □
YSF – Pressure Relief Valve Code
□ - Progettazione numero di serie
□ – Turn on the pressure kPa
□ - the effective caliber of the oil injection mm
□ - Alarm signal environmental conditions and locking device*
※: 1. Used for mechanical signal mark "J".
2. For use in humid tropical areas, add "TH" after the "J" mark.
3. If a locking device is used, then add "B" after it.
For example: YSF6-35/25JTHB
That is, the oil injection diameter φ25mm, the opening pressure is 35kPa, with a mechanical alarm signal, it is used for the damp and hot zone locking device, and the sixth design of the pressure release valve.
2.1 Specifications and basic parameters are shown in Table 1
3. The structure of the structural pressure release valve is shown in Figure 5.
Table 1 Specifications and basic parameters
Effective caliber (mm) | Turn on the pressure (kPa) | Open pressure limit deviation (kPa). | Turn off the pressure (kPa) | Sealing pressure (kPa) |
φ25 φ50 | 15 | ±5 | 8 | 9 |
25 | 13.5 | 15 | ||
35 | 19 | 21 | ||
55 | 29.5 | 33 |

Fig.5 Schematic diagram of the structure of the pressure release valve
4. Use
Choose a release valve equipment with a latching device, and the latching pin should be removed before the equipment is put into operation, otherwise the valve cannot be opened.
After the operation of the pressure release valve during operation, the marker rod should be reset after the fault is found for reuse. The release valve cannot be removed at will during installation.
The pressure release valve has oil leakage, and measures should be taken to solve it in time, and the main reasons for oil leakage are roughly as follows:
a. For some reason, the pressure in the fuel tank is too high, which has exceeded the sealing pressure of the release valve but has not yet reached the opening pressure, causing leakage.
b. Some of the sealing rings in the valve have been aged and failed, and the failed sealant ring should be replaced with the manufacturer in time.
c. If there is a foreign object on the sealing surface, it can be eliminated in time.
5. Maintenance and overhaul
5.1 Take advantage of the opportunity of each power outage maintenance of electrical equipment to carry out the following maintenance of the valve.
a. Whether the opening action is sensitive.
B. Se l'anello di tenuta è invecchiato, deformato o danneggiato. Se vengono riscontrate anomalie, devono essere sostituite in tempo per evitare perdite di olio o addirittura il guasto della valvola di rilascio a causa dell'invecchiamento dell'anello di gomma.
c. Clear the foreign body in the valve.
d. Whether the parts are rusted, deformed or damaged.
5.2 The user should prepare several release valves in case of replacement during inspection.
(4) Oil sample flap
Viene generalmente installato nella direzione del lato di bassa pressione della parte inferiore del serbatoio del carburante per i campioni di olio. Durante l'uso, svitare prima il coperchio, posizionare il tubo del campione dell'olio sul giunto morbido 1: quindi ruotare lentamente la spina fino a quando l'olio non può essere rilasciato dal connettore e avvitare il coperchio dopo il completamento.

Figure 6
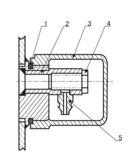
(5) Thermometer seat
Per misurare l'aumento di temperatura della superficie dell 'olio del trasformatore. Il termometro a mercurio per la misurazione è fornito dall 'utente. La struttura del sedile del termometro è mostrata nella Figura 7. La presa del sensore di temperatura è riempita con olio di trasformatore e quando viene misurata l'aumento della temperatura superficiale dell 'olio, basta aprire il coperchio e inserire il termometro a mercurio. Dopo la misurazione, estrarre il termometro e stringere di nuovo il coperchio.

Figure 7
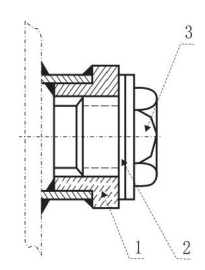
(6) Grounding bolts
Un bullone di messa a terra è saldatato alla parte inferiore del lato a bassa tensione del serbatoio per la messa a terra complessiva del trasformatore. La sua struttura è mostrata nella Figura 8. Nella lavatrice dell 'articolo 2, il collegamento domestico è collegato alla barra di messa a terra e il bullone dell' articolo 3 è serrato per garantire il funzionamento sicuro del trasformatore. Per una facile identificazione, c'è un segno di messa a terra.

Figure 8
(7) Oil flap
The oil drain valve is installed in the direction of the low voltage side of the fuel tank for transformer accidents or for cleaning and draining oil.

Figure 9

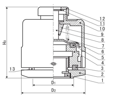
Fully sealed oil-immersed power transformer component
Numero di serie | Code | Name | quantity | Remarks |
11 | tap-changers | 1 | ||
10 | Signal thermometer mount | 1 | There are more than 1000KVA | |
9 | Mercury thermometer holder | 1 | ||
8 | Ground bolt | 1 | ||
7 | Oil sample flap | 1 | ||
6 | Trasformatore cabinet | 1 | ||
5 | Gas relays | 1 | There are more than 800KVA | |
4 | Low pressure casing | 4 | ||
3 | High pressure casing | 3 | ||
2 | Oil level gauge | 1 | ||
1 | Pressure relief valve | 1 |
---------------------------------------------------------------------------------------------------------------- Presenteremo le prestazioni, i metodi di funzionamento sicuri e i parametri tecnici del trasformatore: Trasformatori riempiti liquidi S9 \ S11 \ S13